Produktbeskrivelse
Opphengsbraketten for sikker og stabil montering av hvitevarer. Brakettet er laget av solid stål med en tykkelse på 1,5 mm. Brakketen er foret med hvitt belegg for rustbeskyttelse.
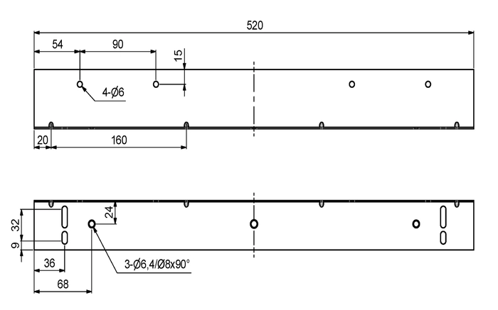
Teknisk informasjon:
- Lengde: 520mm
- Bredde: 60mm
- Høyde: 50mm
- Tykkelse: 1,5mm
- Farge: Hvit


